bwin用户登录密码

以下企业注意了,您的营业执照经营期限即将到期!(2025年4月前)
微信 智能问答 繁體版
本网站已支持IPV6
您当前的位置:首页 - 政府信息公开 - 市直部门政府信息公开 - 市市场监督管理局 - 业务管理

以下企业注意了,您的营业执照经营期限即将到期!(2025年4月前)

发布日期:2024-12-06 来源: 浏览次数:

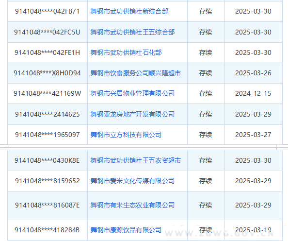
重要提醒!!!

以下企业注意了,您的营业执照经营期限即将到期!(20254月前)

e4e5d41da3842b3f5dfe177c023f1faf.pngd0e4d1f7974562ed5e531e9c29db927c.pnga432fff4b6fa993b63fe529e55694bbb.png

请以上企业及时到行政审批大厅市场监管局窗口申请办理经营期限备案业务!

葡京体育新版指定 凤凰体育官方登录入口 亚博电子体育app下载官网 火狐体育下注网站 爱赢体育首页注册 沙巴体育网站官方官方 OB体育正规 足球外围件官方注册 35体育网址大全 >网站地图-sitemap